价格:¥0.00/台
品牌:信捷智检
型号:RST150
符合标准:YY1042-2023
品牌:信捷智检
供应:10000台
发货:30天内
一、设备简介:
(1)设备型号:RST150
(2)设备名称:YY1042-2023牙科材料检测设备
二、设备介绍:主要用于标准中规定的牙科修复材料/粘固材料工作时间和固化时间测量。
三、依据标准:YY1042-2023《牙科学 聚合物基修复材料》
四、试验方法:
(一)水:实验用水应符合GB/T 6682-2008的2级水;
(二)环境条件:
室温:23±2℃(工作时间);37±1℃(固化时间)
湿度:大于30%,小于70%;
III类材料的测定在无辐射活化条件下进行;
尽量在暗室进行试验,人造光源经过黄色滤光片过滤;
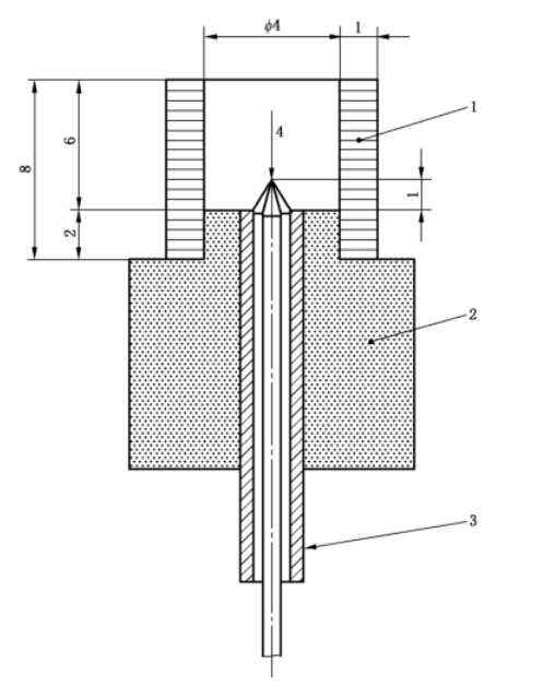
(三)设备主要参数:
设备内置热电偶装置,该装置如标准图2 工作时间和固化时间测定器具图所示:

管(1):材质:高密度聚乙烯;长8mm,内径4mm,壁厚1mm,
聚酰胺块(2):材料为聚酰胺或类似材料;
试样槽:由(1)和(2)组成,高6mm,直径4mm;
不锈钢管(3):内置热电偶(4),热电偶直径:0.2±0.05mm;
五、售后服务:
(1)3年免费质保;
(2)产品提供售前售后技术改进服务;
(3)设备有任何故障8小时内给予响应,24小时内提供解决方案,远程不能解决的问题72小时内派遣工程师到现场解决或产品返厂维修
(4)终身提供技术支持,维修,产品升级;
(5)产品交付时派遣工程师现场培训指导,交付后随时提供远程指导;
(6)派遣工程师现场安装调试;
(7)签订合同后15日内交付,定制设备交付周期详见报价方案;
西安信捷智能检测科技有限公司是集研发、生产和销售为一体的高新技术企业,也是国内检测仪器设备制造企业更多设备信息以及技术参数请查看西安信捷公司网站,或者直接咨询公司销售人
员!!!
