价格:¥0.00/件
品牌:上海三利泵业(集团)有限公司
标签: 上海三利泵业(集团)有限公司
品牌:上海三利泵业(集团)有限公司
发货:3天内
三利·ZX型自吸式离心泵简介:
「上海三利泵业(集团)有限公司 」
目前产品:主要以工业设备配套水泵油泵各种工程配套水泵化工设备配套水泵变频恒压供水成套设备为主。
坚持不懈努力与发展,优良品质,满足客户需求而又可以按客户要求特殊设计定做。
竭诚欢迎海内外各界人士莅临本公司指导,垂询惠顾,共创辉煌明天。
三利·ZX型自吸式离心泵产品概述:
ZX型自吸式离心泵(简称自吸泵),是上海三利泵业(集团)有限公司生产的是根据有关技术资料经吸收、改进后研制而成的节能泵类产品,它具有结构紧凑、操作方便、运行方便、维护容易,并有较强的自吸能力等优点。管路中不需要安装底阀,工作前只需泵体内储有定量即可,因此简化了管路系统,又劳动条件。
ZX型自吸式离心泵在工农业生产,抢险救助,如排涝,救火中作为应急泵使用效。ZX型自吸式离心泵广泛适用石油、化工、冶金、机械、化纤、食品、能源、交通等工业部门城市给水,亦可用于农业排灌,喷灌。供输送清水或粘度小于5°E,温度低于80℃物理及化学性质类似清水的其它液体。
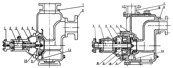
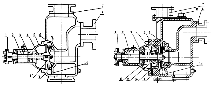
三利·ZX型自吸式离心泵工作原理与结构说明:

1 | 2 | 泵轴 | 3 | 4 | 机械密封 | 5 | 轴承体 | 6 | 泵壳 | 7 | 出口座 | ||
8 | 进口座 | 9 | 前密封环 | 10 | 叶轮 | 11 | 后盖 | 12 | 档水圈 | 13 | 加液孔 | 14 | 回液孔 |
ZX型自吸式离心泵均采用轴向回液的泵体结构。泵体由吸入室、储液室、涡卷室、回液孔、气液分离室等组成,泵正常起动后,叶轮将吸入室所存的液体及吸入管路中的空气一起吸入,并在叶轮内得以完全混合,在离心力的作用下,液体夹带着气体向涡卷室外缘流动,在叶轮的外缘上形成有一定厚度的白色泡沫带及高速旋转液环。气液混合体通过扩散管进入气液分离室。此时,由于流速突然降低,较轻的气体从混合气液中被分离出来,气体通过泵体吐出口继续上升排出。脱气后的液体回到储液室,并由回流孔再次进入叶轮,与叶轮内部从吸入管路中吸入的气体再次混合,在高速旋转的叶轮作用下,又流向叶轮外缘。随着这个过程周而复始地进行下去,吸入管路中的空气不断减少,直到吸尽气体,完成自吸过程,泵便投入正常作业。
在一些泵的轴承体底部还设有冷却室。当轴承发热引起轴承体温升超过70℃时,可在冷却室处通过任意一只冷却液管接头,注入冷却液循环冷却。泵内部防止液体由高压区向低压区泄漏的密封机构是前后密封环,前密封环装在泵体上,后密封环装在轴承体上,当泵经长期运转密封环磨损到一定程度,并影响到泵的效率和自吸性能时,应给予更换。
三利·ZX型自吸式离心泵使用说明:
(一)、起动前的准备及检查工作:
1,根据泵的工作运转状况,分别采用钙基黄油和10号机油进行润滑,如果采用黄油润滑的泵应定期向轴承箱内加注黄油,采用机油润滑的泵,如果油位不足,则加足之。
2,检查泵壳内的储液是否高于叶轮的上边缘,如若不足,可以从泵壳上的加液口处直接向泵体内注入储液,不应在储液不足的情况下启动运转,否则泵不能正常工作,且易损坏机械密封。
3,检查泵的转动部件是否有卡住磁碰现象。
4,检查泵体底脚及各联结处螺母有无松动现象。
5,检查泵轴与电动机主轴的同轴度和平行度。
6,检查进口管路是否漏气,如有漏气,必须设法排除。
(二)、起动及操作:
1,点动泵,注意泵轴的转向是否正确。
2,注意转动时有无不正常的声响和振动。
3,注意压力表及真空表读数,起动后当压力表及真空表的读数经过一段时间的波动而指示稳定后, 说明泵内已经上液,进入正常输液作业。
4,在泵进入正常输液作业前即自吸过程中,应注意泵内水温升高情况,如果这个过程过长, 泵内水温过高,则停泵检查其原因。
5,如果泵内液体温度过高而引起自吸困难,那么可以暂时停机,利用吐出管路中的液体倒流回泵内或向泵体上的加储液口处直接向泵内补充液体,使泵内液体降温,然后起动即可。
6,在工作过程中如发生振动和曝声,有可能是泵发生汽蚀所致,汽蚀产生的原因有两种:一是进口管流速过大;二是吸程过高。流速过大时可调节出口控制阀,升高压力表读数,在进口管路有堵塞时则应及时排除;吸程太高时可适当降低泵的安装高度。
7,在工作过程中因故停泵,需再起动时,出口控制阀应稍开(不要全闭)这样既有利于自吸过程中气体从吐出口排出,又能泵在较轻的负荷下启动。
8,注意检查管路系统有无渗漏现象。
(三)、停泵:
1,必须关闭吐出管路上的闸阀。
2,使泵停止转动。
3,在寒冷季节,应将泵体内的储液和轴承体冷却室内的水放空,以防冻裂机件。
三利·ZX型自吸式离心泵维护和拆装:
ZX型自吸式离心泵在泵正常情况下,一般不需要经常拆开。当发现故障后给予排除即可。
1.维护该泵时应注意几个主要部位:
a)滚动轴承:当泵长期运行后,轴承磨损到一定程度时,须进行更换。
b)前密封环、后密封环:当密封环磨损到一定程度时,须进行更换。
c)机械密封:机械密封在不漏液的情况下,一般不应拆幵检查。若轴承体下端泄漏口处产生泄漏时,则应对机械密封进行拆检。装拆机械密封时,必须轻取轻放,注意配合面的清洁,保护好静环和动环的镜面,严禁敲击碰撞。因机械密封而产生泄漏的原因主要是摩擦付镜面拉毛所至。其修复办法,可对磨擦付端面进行研磨使镜面。机械密封产生泄漏的另一原因是“O”形橡胶密封圈(或缓冲垫)安装不当、或者变形老化所至。此时则需调整或更換“O”形密封圈进行重新装配。
2.自吸泵拆装顺序:
a)拆下电动机或脱出联轴器。
b)拆出轴承体总成,检查叶轮和前口环的径向间隙,检查叶轮螺母有无松动。
c)拆下叶轮螺母,拉出叶轮,检査叶轮和后密封环的径向间隙。
d)松出机械密封的紧定螵钉,拉出机械密封的动环部分,检查动、静环端面的贴合情况,检查“O”形密封圈(或缓冲垫)的密封情况。
e)旋出联轴器的紧定螺母,拉出联轴器。
f)拆下轴承端盖,拆出泵轴和轴承。
g)安装时以相反顺序进行装配即可。
三利·小提醒:
『 上海三利泵业(集团)有限公司 』
- 请客户在下单或者购买之前
- 请先通过跟我们的业务员沟通或者来电咨询
(1)价格问题:价格以本公司实际报价为准!
(2)产品问题:所有商品我们公司在发货之前都进行严格质检,无任何问题才发货!
(3)产品属性:下单之前或者购买之前请咨询您需要的商品型号、规格尺寸等,以便您所买的产品和您所需的产品尺寸是否一样。



