施迈茨纯电动真空泵 GCPi


施迈茨纯电动真空泵 GCPi 能耗低,采用紧凑的结构设计,是一款高性能的真空发生器。

01纯电动
生产和安装时无压缩空气;24V电动技术,可移动使用


连接其他配件
紧凑型泵GCPi可用于连接一个执行器(1),例如真空阀和一个传感器(2)。也可以控制两个传感器或两个执行器。靠近夹具放置可确保最快的切换时间和最准确的测量值。

节能效果好
施迈茨真空泵 GCPi 的特点是其卓越的能源效率。由于高效隔膜泵技术和智能真空控制,在某些应用中,它比传统的旋转叶片泵效率高75%,比不受控制的发生器能效高85%。

产品设计
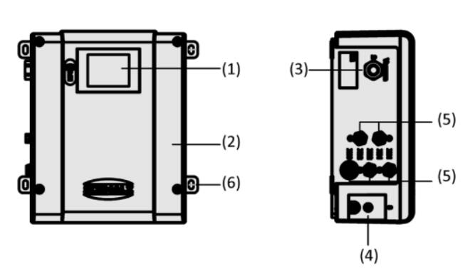
• 紧凑型塑料外壳中的真空单元(2)
• 用户友好的 LCD 触摸屏(1)
• 真空接头 G1/4''-IG(内螺纹)(3)
• 电气接口M12-5(5)
• 自动化系统中分散安装的安装支架(6)
• 消声器(4),用于降低噪音水平