分享好友 资讯首页 频道列表

Seurat融资2100万美元助力金属点阵3D打印技术

2022-01-24 13:335590
【智能装备网讯】 导读:此前,报道过一家创新的金属3D打印技术公司Seurat,他们拥有独特的200万激光点金属“区域3D打印”技术,每次可打印一个15平方毫米的区域,金属打印速度能够提升1千倍。
△每次3D打印一个15平方毫米的区域

     2022年1月24日,Seurat公司宣布完成了B+轮2100万美元的融资,距离他们B轮4150万美元的融资不到7个月。本轮融资由施乐风险投资公司(美国公司的同名投资部门)和日本风险投资公司SIP Global Partners牵头,现有投资者Capricorn's Technology Impact Fund、True Ventures、Porsche Automobil Holding SE和Maniv Mobility参与。


△Seurat200万个激光的“区域打印工艺”,可以打印金属件

    Seurat公司希望颠覆几个世纪以来的制造技术,挑战现有的粉末床熔融(PBF)公司,建立了一个开创性的3D金属打印工艺,可以与传统制造业的数量、质量和价格竞争,同时抵消碳排放。获得本轮融资后,他们希望加快AreaPrinting增材制造(AM)专利技术的开发和商业化,并建立新的3D金属打印生产系统。这笔资金还将有助于扩大规模,以支持日益增长的客户兴趣,壮大团队,并履行承诺,实现本地化的大批量制造,以3D打印的所有灵活性和优势,在价格上满足工业生产的要求。
△劳伦斯·利弗莫尔国家实验室激光系统的一小部分。图片由劳伦斯·利弗莫尔国家实验室提供。

Seurat的起源可以追溯到十多年前美国能源部(DoD)的劳伦斯·利弗莫尔国家实验室(LLNL),当时机械工程师詹姆斯·德穆斯(James DeMuth)--Seurat的联合创始人兼首席执行官--致力于一个核聚变能源项目,设计一种能够承受激光产生能量时发生的极端温度波动的反应室。

为了承受聚变环境的剧烈疲劳和温度,德穆斯和他的同事们意识到,他们需要不能焊接但可以3D打印的特殊合金。经过多次试验和错误,他们采用了利弗莫尔实验室已经在开发的一种图案光方法。到2015年,德穆斯和联合创始人埃里克·图姆雷已经证明,这项技术也适用于金属3D打印,并相信它可以超过传统的3D打印技术,尽管传统的3D打印技术已经成熟并获得了发展势头,但在速度、质量、规模和成本方面仍然存在弊端。到2016年1月,这两个人已经从LLNL获得了他们工艺的技术许可证,并开始筹集资金并将该技术商业化。

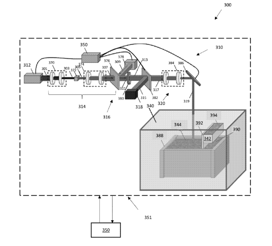
Seurat Technologies的专利,"一种包括激光器的增材制造系统"



DeMuth解释说:“Seurat的使命是通过掌控3D打印的灵活性和设计自由度,让制造业在各个方面都变得更好,但不会付出过多代价。”Area Print将分辨率和速度分离,这是让3D打印成为大批量处理的秘诀。我们正在与世界上最大的制造商合作,将他们的设计移植到Area Print,帮助他们在对环境产生积极影响的同时获得交货期、成本和质量优势。
△这张信息图用十个步骤说明了Seurat专利:改变规则的区域、打印技术的能力。图片由Seurat提供。

B轮扩建的资金将用于建设Seurat的生产级系统,该系统的目标是以每公斤300美元的价格生产零部件,与机械加工生产的零部件相当。到2025年,Seurat预计将制造成本降低到每公斤150美元,类似于铸件。然而,随着公司的发展,其技术预计将使价值1万亿美元的金属制造市场完全进入增材制造。

但这还不是全部。Seurat的Area Print技术旨在使制造业脱碳,制造业是温室气体排放的最大贡献者之一。到2025年,该公司预计将取代0.15亿吨(GT)的二氧化碳,相当于消耗150亿加仑汽油。到2030年,它预计将取代250万吨。要做到这一点,Seurat的策略不是通过机器销售,取而代之的是,它通过其区域打印生产(APP)计划为区域打印的部件提供资格。

一旦部件合格,生产将在客户附近的本地化印刷厂进行。从APP项目毕业后,客户将拥有一个可复制和可重复的部件,准备批量生产。到目前为止,Seurat表示,它已经与世界上最大的七家汽车航空航天、能源和工业公司达成了协议,将于今年开始将这项技术商业化。
△Seurat的金属增材制造零件。图片由Seurat提供

     这一史无前例的方法还将有助于应对过去两年由于持续的新冠肺炎大流行而出现的供应链挑战。例如,在过去的几周里,随着疫情的爆发,丰田(Toyota)和大众(Volkswagen)等顶级汽车制造商已经暂时关闭了在中国的工厂。就像这样,各公司都在争先恐后地转移制造流程,目标是内部生产,以克服未来的不确定。一旦商业化,像Seurat的技术这样的选项可能会变成一个理想的解决方案,这可能就是为什么保时捷SE、通用汽车和其他制造业领军企业都在投资这项技术的原因。
      毫无疑问,企业需要新的解决方案来减少碳足迹,创造更具弹性的供应链,为了推进全球的净零目标,应对供应链挑战,其区域印刷工艺由100%可再生能源驱动,将帮助公司将制造从铸件和其他传统制造方法转移到实现大批量生产和减少有害环境污染物。然而,正如3DPrint.com执行主编乔里斯·皮尔斯所说:“现在就断言Seurat能否成功地将其技术商业化还为时过早。” (采编:www.znzbw.cn)

免责声明:

本网转载并注明自其它来源(非智能装备网)的作品,目的在于传递更多信息,并不代表本网赞同其观点或和对其真实性负责,不承担此类作品侵权行为的直接责任及连带责任。其他媒体、网站或个人从本网转载时,必须保留本网注明的作品第一来源,并自负版权等法律责任。如涉及作品内容、版权等问题,请在发布之日起十五天内与本网联系,否则视为放弃相关权利。

反对 0
举报 0
收藏 0
打赏 0
评论 0

相关资讯