在往期的文章中,小编对伺服电机、力矩电机、变频电机均有所介绍。但是,你知道电机依据功能还有其它类型吗?为增进大家对电机的认识程度,本文将对微控电机以及满盘电机予以介绍。

一、微控电机
微控电机是具有特定功能的小功率旋转电机。
控制电机在控制系统中作为执行元件、检测元件和运算元件。从工作原理上看,微控电机和普通电机没有本质上的区别,但在使用功能上不一样。普通电机功率大,侧重电机的起动、运行和制动等性能指标,而控制电机输出功率较小,侧重于电机的控制精度、响应速度和运行可靠性。目前国内外生产的微控电机种类较多,
下面介绍几种常用的微控电机的基本工作原理及其使用特性。
单相异步电动机(single-phase asynchronous motor)是靠220V单相交流电源供电的一类电动机,它适用于只有单相电源(single-phase power)的小型工业设备和家用电器中。
测速发电机是一种测量转速的微型发电机,他把输入的机械转速变换为电压信号输出,并要求输出的电压信号与转速成正比。测速发电机分直流测速发电机和交流测速发电机两大类 。
伺服电动机(servo motor)的功能是将所输入的电压信号转换为轴上的角位移或角速度输出,其转速和转向随输入电压信号的大小和方向变化而改变的控制电机。伺服电动机能带一定的负载,在自动控制系统中作执行元件,所以又称为执行电动机。例如数控车床,刀具由伺服电动机拖动,他会按照给定目标的形状拖动刀具进行切割器件。早期伺服电动机输出功率较小,功率范围一般为0.1~100瓦,而目前伺服技术发展很快,几千瓦的大功率伺服电动机相继出现。
步进机将脉冲信号转换为角位移或线位移。主要要求:动作灵敏、准确、重量轻、体积小、运行可靠、耗电少等。
自整角机在自动控制系统中用做角度的传输、指示或变换,通常将两台或多台相同的自整角机组合起来使用。自整角机有控制式和力矩式两种,其用途不同。力矩式自整角机用做远距离转角指示,控制式自整角机可以将转角转换成电信号。
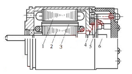
自整角机的结构分成定子和转子两大部分,接触式自整角机结构如图下图所示。

1—定子;2—转子;3—阻尼绕组 4—电刷;5—接线柱;6—滑环 图 自整角机的基本结构
无刷直流电动机为了去掉电刷,将电枢放到定子上去,而转子制成永磁体,这样的结构正好和普通直流电动机相反;然而,即使这样改变还不够,因为定子上的电枢通过直流电后,只能产生不变的磁场,电动机依然转不起来。为了使电动机转起来,必须使定子电枢各相绕组不断地换相通电,这样才能使定子磁场随着转子的位置在不断地变化,使定子磁场与转子永磁磁场始终保持左右的空间角,产生转矩推动转子旋转。

二、满盘电机
满盘电机是指一款长寿命、大扭矩电机,可以满足任何复杂路况,该电机将驱动轮和电机合成一个整体,不仅外形美观大方,而且其扭矩是普通无刷电机的3倍以上,使用寿命是普通无刷电机的2倍以上,是追求时尚与动力的消费者的最佳选择。
满盘电机运用新型恒磁材料,是目前所有磁性材料中单位体积蕴涵磁能量最大的一种永磁材料,高达320的磁通量、采用7条驱动通道、12个传动组合、56级磁能级数,3个CPV节能控制模块,使电机扭矩增强30%、能耗降低10%,续行里程增加1/3,动力更强、续行里程更远,实现了磁能电机超强动力与超低能耗的完美组合,革命性的解决了传统磁能电机动力大、里程短的技术难题。
(采编:www.znzbw.cn)